智能网关绑定天翼云SD-WAN
文档简介:
操作场景:
用户将智能网关绑定天翼云SD-WAN,体验分支互联、访问云上资源。
操作步骤:
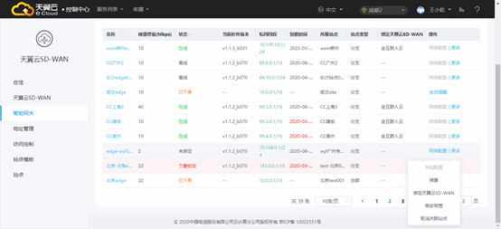
1、 登录控制台,在智能网关页点击待配置设备操作栏中的“更多-绑定天翼云SD-WAN”,弹出绑定配置弹框。
绑定天翼云SD-WAN
操作场景:
用户将智能网关绑定天翼云SD-WAN,体验分支互联、访问云上资源。
操作步骤:
1、 登录控制台,在智能网关页点击待配置设备操作栏中的“更多-绑定天翼云SD-WAN”,弹出绑定配置弹框。
2、 选择要加入的天翼云SD-WAN。
注意:一个天翼云SD-WAN中只能包含一个关联总部站点的智能网关。
3、 若选择的天翼云SD-WAN未绑定云间高速(标准版),可选择云间高速(标准版)与其绑定;若天翼云SD-WAN已绑定云间高速(标准版),此处显示绑定的云间高速(标准版),不支持修改。
4、 点击“确定”,完成智能网关绑定配置。






