智能网关解绑天翼云SD-WAN
文档简介:
操作场景:
用户将智能网关与天翼云SD-WAN解绑。
操作步骤:
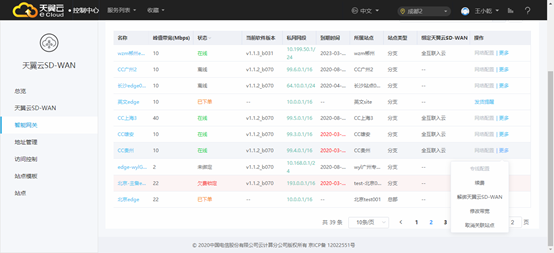
1、 登录控制台,在智能网关页点击待配置设备操作栏中的“更多-解绑SD-WAN”,弹出解绑弹框。
解绑天翼云SD-WAN
操作场景:
用户将智能网关与天翼云SD-WAN解绑。
操作步骤:
1、 登录控制台,在智能网关页点击待配置设备操作栏中的“更多-解绑SD-WAN”,弹出解绑弹框。
2、 点击 “确定”,完成解绑操作。






