主机安全HOSTEYE(企业版)对常见软件的官方披露安全漏洞信息,进行了收集和整理,形成了安全知识库。依据知识库进行检测,帮助客户了解自身部署的常见软件的安全漏洞情况,建议您购买企业版。
漏洞扫描
用户登录主机安全控制台后,点击主机安全-漏洞扫描-漏洞扫描进入漏洞扫描页面,可筛选查看各类漏洞的服务器数量、总览各类漏洞的数量。
漏洞扫描列表包含:系统漏洞、Web-CMS漏洞、应用漏洞,可以根据服务器名称、IP进行查询,并支持漏洞扫描列表导出。
- 勾选服务器,点击漏洞扫描,即可对勾选的云服务器发起漏洞扫描。
- 勾选服务器,点击自定义扫描,即可对勾选的云服务器发起自定义漏洞扫描。
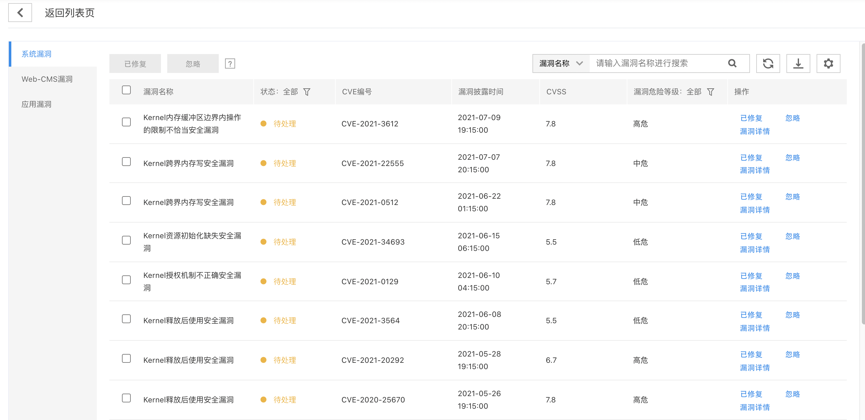
在漏洞扫描列表中,点击漏洞的数量可以进入漏洞详情页面。
| 项目名称 | 含义 |
|---|---|
| 漏洞名称 | 漏洞的名称 |
| CVE编号 | 漏洞对应的CVE编号 |
| 关联应用 | 漏洞关联的应用。 |
| 漏洞详情 | 点击查看详情,可以看到更多的漏洞细节、修复建议、以及受到漏洞影响的服务器列表。 |
漏洞管理
在主机安全-漏洞扫描-漏洞管理中,能够总览Windows系统漏洞、Linux系统漏洞、Web-CMS漏洞、应用漏洞的漏洞数量与风险级别,点击可筛选。可以根据漏洞名称、CVE/KB编号进行查询,支持漏洞加白与查看详情操作,支持漏洞管理的列表导出。
白名单管理
在主机安全-漏洞扫描-白名单管理中,可以管理漏洞白名单、查看漏洞详情、移出白名单。






